Acum citesti
Shimano pregătește o tijă de șa reglabilă electronic

Vorbeam în trecut despre faptul că din ce în ce mai mulți producători se vor arunca cu diverse oferte pe piața tijelor de șa reglabile, atât de utile și de necesare. Vom vedea deci o scădere de preț pentru aceste componente, ceea ce nu poate decât să ne bucure, dar și mai mult ne va bucura faptul că vor fi disponibile în versiuni mai ușoare pentru bicicletele de Cross Country (vezi Specialized).

tija-sa-reglabila-shimano-1

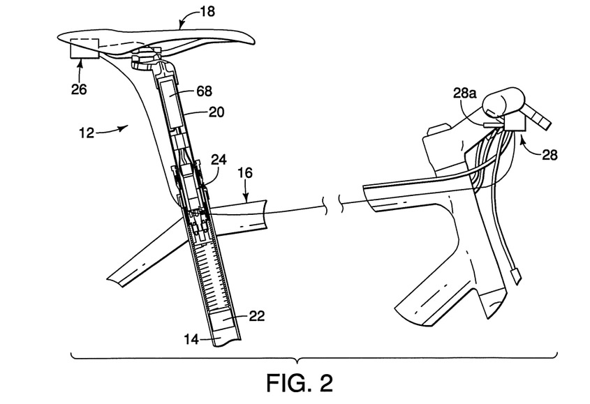
Pe internet au apărut de curând planurile unei noi tije de șa care va fi lansată de Shimano, diferența față de produsele actuale fiind utilizarea electronicii. Da, ai auzit bine, Shimano va lansa noua tijă de șa reglabilă electronic și nu mecanic. Asta presupune faptul că nu va mai fi necesar să stai pe șa pentru a o coborî ci o vei putea acționa în orice situație. Un electromotor se află în interiorul acesteia, iar prin intermediul unei telecomenzi cu (probabil) două butoane, vei putea ridica sau coborî șaua după bunul plac.

tija-sa-reglabila-shimano-2

Mai multe detalii despre viteza de acționare, greutate sau durata de viață a acumulatorului încă nu au fost făcute publice, însă în această toamnă ne-am putea aștepta deja la primele informații și fotografii ale noului produs.

via Shimano

Vezi Comentarii (0)

Lasa un comentariu

Adresa ta de email nu va fi publicata.

thirteen − five =